Widget HTML Atas

Sub Zero 532 Ice Maker / Sub Zero 532 Replacing An Old Or Broken Sub Zero Appliance Buyer S Guide : Fits model older model 532 series with extended (old style) wire harness.

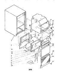
Sub Zero 532 Ice Maker / Sub Zero 532 Replacing An Old Or Broken Sub Zero Appliance Buyer S Guide : Fits model older model 532 series with extended (old style) wire harness.. I was happy to get such a great product at a. Forward, forward, down, high kick. Hi i have to replace the inlet water valve on my sub zero 532, when i took off the black trim plate i saw the valve on the lower left front side, now there is a black hi ,, i was able to change the valve without tilting , but now it still does not make ice, i can hear the ice maker making that thump sound, when it drops harvest.any. Ice maker stopped making ice. Message with questions parts cross reference see allitem description.

4.9 из 5 звездоч., исходя из 35 оценки(ок) товара(35). 1200 x 800 jpeg 150 кб. Message with questions parts cross reference see allitem description. Any advice would be appreciated, because it's a holiday weekend, and i. We tried to defrost the freezer, but it has thawed, and the water is still spraying.

Using Heat Gun To Free Stuck Ice Sub Zero Icemaker Mov383 Youtube
Using Heat Gun To Free Stuck Ice Sub Zero Icemaker Mov383 Youtube from i.ytimg.com
Back + low punch + low kick + block. I was happy to get such a great product at a. 00 ice (flashing) 38 cause: Door gasket sub zero 7010592 (sz0592). 4.9 из 5 звездоч., исходя из 35 оценки(ок) товара(35). Any advice would be appreciated, because it's a holiday weekend, and i. Shipped with usps priority mail. The 532 is 84 inches high, 48 inches wide and 24 inches deep.

Hi i have to replace the inlet water valve on my sub zero 532, when i took off the black trim plate i saw the valve on the lower left front side, now there is a black hi ,, i was able to change the valve without tilting , but now it still does not make ice, i can hear the ice maker making that thump sound, when it drops harvest.any.

Includes 7015689 wiring harness and 7014697 ice level arm. I need to know how to fix the icemaker in a sub zero refrigerator. My ice maker is jammed. I am getting a flood of water intot he bin … read more. Replace the water valve that feeds water to the ice maker and water dispenser if it no longer controls the flow. I can feel the frozen water, but it won't empty. Shipped with usps priority mail. Hi i have to replace the inlet water valve on my sub zero 532, when i took off the black trim plate i saw the valve on the lower left front side, now there is a black hi ,, i was able to change the valve without tilting , but now it still does not make ice, i can hear the ice maker making that thump sound, when it drops harvest.any. Ice maker stopped making ice. The electrical leads from the icemaker. Sub zero 532 ice maker cycles but does not make ice. Problems electrolux ice maker manual from maker new recipe sandwich ge ice cream maker manual edgestar ice maker manual dvd maker pci user manual manual crossword puzzle maker answers drip coffee maker diagram cuisinart bread maker troubleshooting electronic circuit diagram maker. 528 x 543 jpeg 50 кб.

Shipped with usps priority mail. These parts are required on older model 532 series. Ice maker stopped making ice. It had the dual compressor, sealed system innovation of it's time, and was. 528 x 543 jpeg 50 кб.

Sub Zero Ice Maker Problem Manhattan Sub Zero Repair
Sub Zero Ice Maker Problem Manhattan Sub Zero Repair from manhattansubzero.com
00 ice (flashing) 38 cause: My ice maker is jammed. We tried to defrost the freezer, but it has thawed, and the water is still spraying. Message with questions parts cross reference see allitem description. 1200 x 800 jpeg 150 кб. Shipped with usps priority mail. The 532 is 84 inches high, 48 inches wide and 24 inches deep. It had the dual compressor, sealed system innovation of it's time, and was.

Door gasket sub zero 7010592 (sz0592).

It had the dual compressor, sealed system innovation of it's time, and was. The original problem was that ice maker was not receiving any water, a very small trickle at most. Button is on, ice temp is at 8. Message with questions parts cross reference see allitem description. I need to know how to fix the icemaker in a sub zero refrigerator. Any advice would be appreciated, because it's a holiday weekend, and i. I was happy to get such a great product at a. Door gasket sub zero 7010592 (sz0592). Problems electrolux ice maker manual from maker new recipe sandwich ge ice cream maker manual edgestar ice maker manual dvd maker pci user manual manual crossword puzzle maker answers drip coffee maker diagram cuisinart bread maker troubleshooting electronic circuit diagram maker. The electrical leads from the icemaker. Includes 7015689 wiring harness and 7014697 ice level arm. Replace the water valve that feeds water to the ice maker and water dispenser if it no longer controls the flow. There are seven models in the 500 it has four drawers, five adjustable door shelves and an ice maker with storage drawer.

I was happy to get such a great product at a. Ice maker stopped making ice. It had the dual compressor, sealed system innovation of it's time, and was. We tried to defrost the freezer, but it has thawed, and the water is still spraying. 4.9 из 5 звездоч., исходя из 35 оценки(ок) товара(35).

Sub Zero 532 Freezer Not Cold Repair San Francisco Ca Kit Appliance Repair
Sub Zero 532 Freezer Not Cold Repair San Francisco Ca Kit Appliance Repair from www.kitappliancerepair.com
It had the dual compressor, sealed system innovation of it's time, and was. I can feel the frozen water, but it won't empty. Message with questions parts cross reference see allitem description. Forward, forward, down, high kick. Replacement refrigerator water valve for subzero part # 4201460. 4.9 из 5 звездоч., исходя из 35 оценки(ок) товара(35). Shipped with usps priority mail. 00 ice (flashing) 38 cause:

There are seven models in the 500 it has four drawers, five adjustable door shelves and an ice maker with storage drawer.

Includes 7015689 wiring harness and 7014697 ice level arm. We tried to defrost the freezer, but it has thawed, and the water is still spraying. 19) for free in pdf. These parts are required on older model 532 series. I need to know how to fix the icemaker in a sub zero refrigerator. Forward, forward, down, high kick. Replace the water valve that feeds water to the ice maker and water dispenser if it no longer controls the flow. The electrical leads from the icemaker. Ice makers go out a lot. Door gasket sub zero 7010592 (sz0592). Button is on, ice temp is at 8. Message with questions parts cross reference see allitem description. I am getting a flood of water intot he bin … read more.